Suwmiarka do zadań specjalnych - jaką wybrać?
Znacie to uczucie, gdy podczas wykonywania pomiarów nasze narzędzia nie spełniają swojej roli? Wtedy właśnie z pomocą przychodzą suwmiarki do zadań specjalnych. Jeśli zastanawiasz się jaki rodzaj będzie dla Ciebie najlepszy, to koniecznie przeczytaj ten artykuł.
Spis Treści
Złożoność konstrukcji naszych obiektów pomiaru często sprawia, że posiadane przez nas narzędzia nie wystarczą, aby sprostać określonemu zadaniu. W takim przypadku tradycyjna suwmiarka często staje się bezużyteczna. Na szczęście producenci przyrządów pomiarowych zadbali także o te najbardziej wymagające konstrukcje. Jakie występują modele suwmiarek do zadań specjalnych? Poniżej przedstawiamy rodzaje narzędzi, które świetnie poradzą sobie z określoną budową lub kształtem mierzonej powierzchni.
-
Pomiar grubości liny
Zwykła lina z pozoru wydaje się być mało skomplikowanym elementem do pomiaru. Problem pojawia się, gdy chcemy zmierzyć jej grubość przy pomocy tradycyjnej suwmiarki, ponieważ uzyskany wynik może być nierzeczywisty. Z pomocą przychodzi suwmiarka do pomiaru lin, która od tradycyjnego sprzętu różni się zdecydowanie większą powierzchnią szczęk. Ich szerokość może mieć średnio od 20x30 do 40x50 mm, przy zakresie 150 mm. To nietypowe narzędzie umożliwia wygodny pomiar grubości liny, która umieszczona w szerokich szczękach, dokładnie przylega do powierzchni pomiarowych. Dzięki temu możemy mieć pewność uzyskania precyzyjnego wyniku, co niestety nie jest możliwe przy użyciu zwykłej suwmiarki.


Na filmie możesz zobaczyć różnicę pomiaru zwykłą suwmiarką, a specjalną suwmiarką do lin.
-
Pomiar grubości rur
Pomiar elementów o wygiętej powierzchni to nie lada wyzwanie. W takiej sytuacji konieczne jest zwrócenie uwagi na odpowiednie zakończenie szczęk suwmiarki. Dlatego kolejnym sprzętem, który bierzemy pod lupę, jest suwmiarka do rur. Tak, jak wspomnieliśmy wyżej, podczas pomiaru powierzchni cylindrycznej najważniejszym aspektem jest dopasowanie szczęk do ścianki rury. W tym przypadku najlepiej sprawdzi się ta, z jedną szczęką o przekroju walcowym. Po włożeniu szczęki do otworu (rury) jesteśmy w stanie uzyskać prawidłowy wynik grubości ścianki.

-
Pomiar tarczy hamulcowej
Aby tarcze hamulcowe były w pełni sprawne, muszą zachować odpowiednią grubość na całej szerokości. Nic więc dziwnego, że niezwykle istotnym aspektem jest ich regularna kontrola. To zadanie można nazwać "misją pomiarową", a więc zmierzyć się z nim może tylko jeden rodzaj sprzętu. Specjalna suwmiarka do tarcz hamulcowych to narzędzie, które z pewnością ułatwia życie niejednemu mechanikowi. Za pomocą wspomnianej suwmiarki jesteśmy w stanie dotrzeć nawet do trudno dostępnych miejsc tarczy. Wszystko za sprawą specjalnej konstrukcji, na którą składają się: budowa końcówek, długość szczęk oraz kompaktowy rozmiar (w zależności od zakresu pomiarowego). Daje to możliwość zmierzenia tarczy hamulcowej w miejscach części roboczej, pomimo wysokiej krawędzi, występującej zazwyczaj na jej brzegach. Ponadto suwmiarka pozwala utrzymać wynik pomiarowy nawet po rozsunięciu szczęk, co zdecydowanie jest dużym plusem.
-
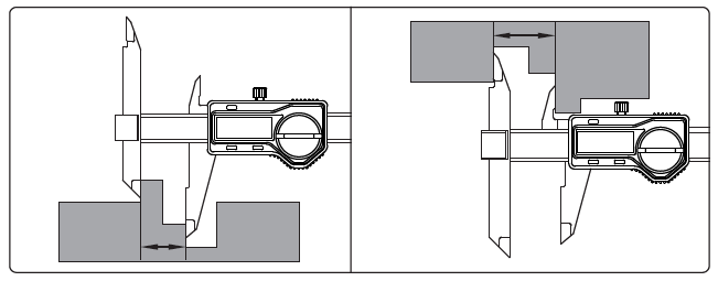
Pomiar otworów na różnych poziomach
Na rynku możemy spotkać różne rodzaje suwmiarek do pomiaru kanałków. Zdarza się jednak, że mierzone otwory są rozmieszczone na różnej wysokości. Dlatego w tej sytuacji najlepszym wyborem będzie suwmiarka z przesuwną szczęką. Dzięki jej konstrukcji możemy regulować dłuższą szczękę, przesuwając ją na różne poziomy. Daje nam to możliwość pomiaru stopniowanych otworów (kanałków), bądź wypustek różnego położenia. Rozwiązanie to ułatwia zarówno pomiar zewnętrzny (przy pomocy dolnych szczęk suwmiarki), jak i wewnętrznych (szczęki górne).

-
Dystans pomiędzy otworami
Kolejnym sprzętem, który także posiada ruchomą szczękę, jest suwmiarka centrująca. To specyficzne urządzenie pozwala na pomiar otworów, a raczej dystansu pomiędzy nimi. Specjalnie zakończone szczęki pomagają określić punkt centralny otworu, dzięki czemu możliwe staje się zmierzenie odległości pomiędzy środkami kanałków. Dodatkowo, suwmiarka pozwala na pomiar na różnych płaszczyznach.

-
Pomiar grubości ścianek
Pomiar grubości ścianek nie jest trudnym zadaniem, o ile do mierzonego elementu mamy swobodny dostęp. Co jednak w przypadku, gdy jest on utrudniony? Z rozwiązaniem przychodzi specjalna suwmiarka do pomiaru grubości ścianek, która dzięki swojej budowie znacząco ułatwia pomiar w trudno dostępnych miejscach. Co więcej narzędzie to posiada także kowadełko, które pozwala na pomiar grubości ścianek o zaokrąglonym kształcie, np. cylindrów.

-
Pomiar frezów, wierteł, rozwiertaków
Następny rodzaj sprzętu, to suwmiarka dedykowana narzędziom skrawającym. Wiertła, frezy czy gwintowniki o konstrukcji z nieparzystą liczbą rowków, stanowią niemałe wyzwanie pomiarowe. Do tego typu zadań powstała więc specjalna suwmiarka o pryzmatycznych szczękach. Za jej pomocą możemy bez trudu zmierzyć średnicę np. wiertła, umieszczając go pomiędzy szczękami w taki sposób, aby elementy skrawające przylegały do szczęk. Należy pamiętać, że suwmiarki te występują w dwóch rodzajach - do narzędzi 3-piórowych oraz 5-piórowych.


-
Pomiar zębatek
Koła zębate to elementy o złożonej konstrukcji, a więc zmierzenie grubości zęba powinno odbyć się przy pomocy np. specjalnej suwmiarki modułowej. W jaki sposób ułatwi nam ona zadanie? Przede wszystkim pionowy suwak pozwala ustawić suwmiarkę na obliczoną wartość wysokości zęba, abyśmy w kolejnym kroku mogli nakierować na niego szczęki suwmiarki. Dzięki temu zabiegowi uzyskamy rzeczywisty wynik grubości zęba w kole zębatym.

-
Pomiar promieni
Ostatnim rodzajem pomiaru, który omówimy, jest pomiar promienia, lub kąta. Zapewne większość z Was pomyśli, że nie jest to możliwe przy użyciu suwmiarki, a jednak. Dzięki specjalnej konstrukcji i rozszerzającym się szczękom, suwmiarka przeznaczona do pomiaru okrągłych segmentów umożliwia uzyskanie wartości promienia. Dodatkowo, przy pomocy opisywanej suwmiarki do promieni możemy zmierzyć również kąt rozwarty okrągłych elementów.

Jak pokazują powyższe przykłady, tak proste narzędzie jak suwmiarka może stać się bazą dla skomplikowanych urządzeń pomiarowych. Znając podstawowe zastosowanie suwmiarki, jesteśmy w stanie bez problemów użyć tej specjalistycznej - przeznaczonej do konkretnych pomiarów.
Dostępność tego typu narzędzi, przynoszących konkretne rozwiązania pomiarowe, w wielu przypadkach potrafi przyspieszyć pracę, a także zdecydowanie ułatwić codzienne zadania.
Jednym z ciekawszych rozwiązań są także suwmiarki do pomiaru kanałków. O ich rodzajach będziecie mogli przeczytać w kolejnym artykule.
sklep@arkom.net.pl
509 673 585














